Components

Removal

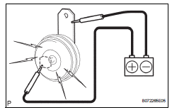
Inspection

Ok 
If the result is not as specified, replace the horn.
Installation

Torque: 19.5 N*m (199 kgf*cm, 14 ft.*Lbf)
Low pitched hornData list / active test (2006/01- )
Read data list
Hint:
Using the intelligent tester's data list allows switch,
sensor, actuator and other item values to be read without
removing any parts. Reading the data list early in
troubleshooting is one way to save time.
Connect the intelligent tester (with can vim) to the
...
Adjusting the open position
of the back door
(vehicles with power back
door)
The open position of the power
back door can be adjusted.
1. Stop the back door in the
desirable position.
2. Press and hold the power
back door switch on the back
door for approximately 2 seconds.
When the settings are completed,
the buzzer sounds 4 times.
When opening the back door the
next time ...
If you have a flat tire
Your vehicle is equipped with a spare tire. The flat tire can be
replaced with the spare tire.
WARNING
â– If you have a flat tire
Do not continue driving with a flat tire.
Driving even a short distance with a flat tire can damage the tire and the
wheel beyond repair, which could result in an accide ...