Description
This circuit detects the state of the headlight dimmer switch.
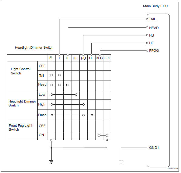
Wiring diagram

Inspection procedure

Ok: on is displayed on the intelligent tester screen.



Standard resistance



Standard resistance



Replace instrument panel junction block (main body ecu)
Back-up light circuit
Door courtesy switch circuitDownhill assist control operation switch (test mode dtc)
Description
The downhill assist control switch is connected to the skid control ecu in
the abs and traction
actuator.
Dtc c1379/74 can be detected when the downhill assist control switch sends the
downhill assist control
switch signal or test mode ends. Dtc c1379/74 is output only in t ...
Assist map number un-writing
Description
The power steering ecu outputs this dtc when it determines that the assist
map is not written in the
ecu.
Hint:
The assist map data is written in the power steering ecu to control assisting
power.
The assist map has 3 types. Select an assist map according to the vehicle
...
Ambient temperature sensor circuit
Description
The ambient temperature sensor is installed in the front part of the
condenser to detect the ambient
temperature and control the air conditioner. The sensor is connected to the
combination meter and
detects fluctuations in the ambient temperature. This data is used for
contr ...