Toyota RAV4 (XA40) 2013-2018 Service Manual: Rear combination light assembly
Components

Removal
Hint:
- Use the same procedures for the rh and lh sides.
- The procedures listed below are for the lh side.
- Disconnect cable from negative battery
terminal
Caution:
Wait at least 90 seconds after disconnecting the
cable from the negative (-) battery terminal to
prevent airbag and seat belt pretensioner activation.
- Remove rear combination light assembly

- Remove the 3 nuts and disconnect the connector.

- Detach the clip and remove the light.
Disassembly
Hint:
- Use the same procedures for the rh and lh sides.
- The procedures listed below are for the lh side.
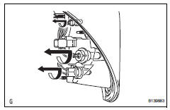
- Remove rear combination light bulb

- Turn the 3 bulbs in the direction indicated by the
arrows and pull to remove them.
Reassembly
Hint:
- Use the same procedures for the rh and lh sides.
- The procedures listed below are for the lh side.
- Install rear combination light bulb

- Turn the 3 bulbs in the direction indicated by the
arrows to install them.
Components
Removal
Hint:
Use the same procedures for the rh and lh sides.
The procedures listed below are for the lh side.
Disconnect cable from negative battery terminal
Caution: ...
Components
Removal
Disconnect cable from negative battery
terminal
Caution:
Wait at least 90 seconds after disconnecting the
cable from the negative (-) battery terminal to
prevent ai ...
Other materials:
Components
...
Shifting the shift lever
Vehicles without a smart key system
While the engine switch is in the
“on” position, move the shift
lever with the brake pedal depressed.
When shifting the shift lever between p and d, make sure that the
vehicle is completely stopped.
Vehicles with a smart key system
While the en ...
Shift lock system
Parts location
System diagram
On-vehicle inspection
Check shift lock operation
Move the shift lever to p.
Turn the ignition switch off.
Check that the shift lever cannot be moved to any
position other than p.
Turn the ignition switch on, depress the brake
pedal and chec ...